Design abrangente do convencional gravidade e sistemas de esgoto de bombeamento

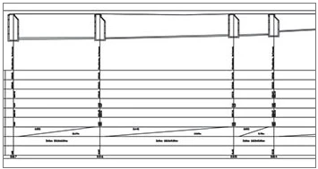
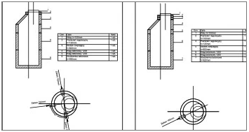
O programa permite a criação da documentação de redes de esgoto e instalações externas de esgoto, incluindo conexões. O programa leva em conta os tipos de águas residuais e a divisão relacionada em água sanitária, água da chuva e esgoto combinado. A funcionalidade do programa ArCADia-SEWAGE NETWORKS permite o desenho orientado a objetos de mapas de desenvolvimento espacial por meio de elementos de rede logicamente conectados e sistemas de esgoto. Com base no modelo de rede desenhado no mapa, o designer gera desenhos auxiliares: perfis, esquemas para a construção de poços de concreto e canais invertidos. Nos perfis gerados é possível alterar a inclinação e profundidade da rede. Com base no modelo de rede, o programa realiza cálculos hidráulicos da rede de esgoto: água sanitária, combinada e pluvial.
Por fim, o usuário gera listas e listas de materiais, listas de canais invertidos de poços concretos, listagem de coordenadas e dados para fazer uma estimativa de custos.
ArCADia LT, ArCADia, ArCADia PLUS





